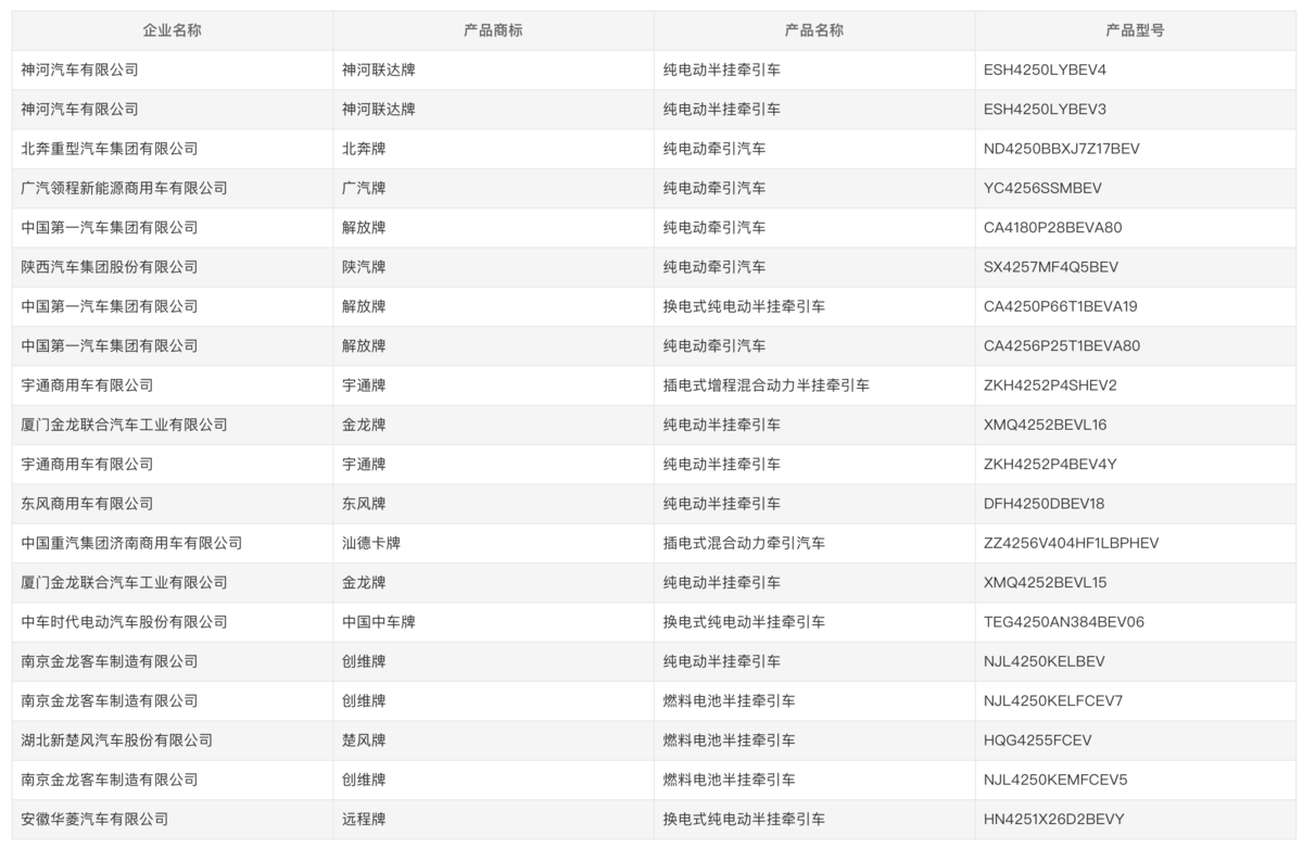
来卡车之家App【卡车之家 原创】日前,工信部发布了第401批汽车公告,其中有39款牵引车申报,其中,包括38款新能源牵引车,新能源牵引车占比超过97%。
从产品类型来看,此批公告39款牵引车中,充电牵引车28款,换电式牵引车3款,燃料电池牵引车5款,插电混合动力牵引车2款,非插电柴油/电混合动力牵引车1款。
第401批汽车公告牵引车中新能源车型占比超过 97%,在刚刚过去的10月份,中重卡市场销量为7.1万辆,新能源份额达到了28.7%,政策与市场共同推动了新能源车型的逐步渗透。
从品牌来看,此批公告中福田系以7款牵引车公告居首,包括福田欧曼以及福田卡文;上汽红岩申请5款新车公告,时隔17个月强势回归;一汽解放和厦门金龙各4款新车公告;南京金龙申请了3款创维牌牵引车公告;神河联达、陕汽、宇通、东风各有两款新车上公告;北奔、中国中车、广汽、重汽、楚风、远程、北汽、贵州各有1款新车上公告。
在这片还被业内视为“蓝海”的新能源市场中,竞争格局更趋多元,传统重卡龙头继续加码新能源布局,也有越来越多的跨界新势力入局,对于终端用户,未来有更多可选项。
2024年1月,福田汽车发布了福田卡文品牌,定位为福田汽车旗下专注新能源商用车的全新品牌,致力于打造“新能源技术领先的国际企业”,构建零碳、可持续的物流运输解决方案。其核心平台是基于福田汽车X实验室研发的全球化开源新能源专属平台,主要产品包括VAN、重卡、轻卡。

重卡产品方面,采用全新新能源重卡专属平台,支持纯电、氢燃料、气氢混合三大动力路线,此次第401批汽车公告中北汽福田也申请了两款福田卡文牵引车,一款为纯电动半挂牵引车,另一款为燃料电池半挂牵引车。
其中卡文纯电动牵引车产品型号为BJ4259EVSA,搭载的是宁德时代磷酸铁锂电池,双电机设计,电机来自福田自产,单电机峰值功率为350kW,自重为12吨,底盘悬架为前2后3式设计。
卡文氢燃料电池牵引车产品型号为BJ4269FCEVBH,质子交换膜燃料电池采用的是北京卡文新能源汽车有限公司的产品,动力电池则采用的是亿纬动力的三元锂蓄电池,双电机同样采用的是福田自产产品,单电机峰值功率为350kW,整车自重为9.54吨。
两款车均为卡文重卡Beacon,外观上采用的是当下新能源重卡中比较流行的楔形低风阻驾驶室,搭配隐藏式门把手,后视镜可选电子后视镜,风阻可以进一步降低,两款车整车轴距均为4400+1350mm。

作为商用车领域的“老大哥”,东风商用车这几年在新能源市场中可谓是“稳扎稳打”,在刚刚结束的2025中国国际商用车展览会上,东风商用车携多款重磅车型亮相,覆盖智能干线、双擎混动、氢燃料、增程混动、超充及纯电等多种技术路线,全面展示其在新能源与智能化领域的领先实力。
在展会现场,东风商用车展出了天龙KL纯电动牵引车,此次401批汽车公告中,东风商用车申请了两款纯电牵引车的公告,除了天龙KL以外,还有一款旗舰车型天龙KX,均为超600度大电量牵引车。
此次申请的东风天龙KL纯电牵引车公告型号为:DFH4250DBEV15,搭载宁德时代磷酸铁锂电池包,度数为600.92kWh,后背式设计,公告续航为350公里,匹配苏州绿控的驱动电机,电机峰值功率为550kW,整车自重为14.56吨,底盘悬架有“2/3,3/4,3/5,2/2,2/4,3/12,3/13,9/13”多种选择。
东风天龙KX纯电牵引车的公告型号为:DFH4250DBEV18,匹配磷酸铁锂电池,底置设计,总容量为633.12,公告续航355公里,值得一提的是储能单体来自亿纬动力,总成则来自东风商用车,这也是如今主机厂常用的方式,购买电芯自行组装。
电驱系统则来自于东风电驱动系统有限公司,功率为350kW,整车自重为9.5吨/9.8吨,匹配超600度的电池包,自重不超过10吨,这样的数据在目前的纯电牵引车市场中也相当亮眼。底盘悬架有“2/3,3/4,3/5,2/2,2/4,3/12,3/13”多种选择。
在工信部第401批汽车公告中,上汽红岩申报了5款新能源牵引车,而这也是其破产重整后,首次申报新车公告。这家老牌军工企业在经历困境之后,聚焦新能源市场,再一次杀回重卡市场,究竟能否“二次创业”?我们静候答案。
回到产品本身,此次上汽红岩申报的5款纯电动牵引车,重回“牌桌”,打法也相对稳妥,动力电池采用的是宁德时代+福鼎时代的产品搭配,均采用的是后背式布局,这也是如今纯电重卡中常见的选择,宁德时代搭配不同品牌,给终端用户不同选择。
虽然在公告中,并没有详细的电量信息,但是这5款牵引车中,有一款整备质量最高为13.8吨,另一款整备质量最高为14.6吨,从自重上可以猜测应该匹配了大电量电池包。
电机则选用的是自主研发的产品,其中4款车型采用的是单电机设计,电机峰值功率为530kW或580kW,还有一款采用的是双电机设计,单电机峰值功率为230kW。
在外观设计方面,通过公告照片可以看出来采用的是杰狮C6 PRO系列驾驶室,可以选装不同的前脸,最新款的外观中网和后视镜都进行了调整,封闭式的中网搭配两排镂空设计,后视镜则变为一体式设计。对于新款外观,大家觉得怎么样?
不同于传统燃油车市场,在新能源市场中,不断有新势力入局,增添技术变革新动力,在401批汽车公告中,不乏有新势力的身影,厦门金龙申请的公告中,有2款为速豹新车;楚风汽车申报的燃料电池牵引车,为海珀特新车;神河汽车申报的2款牵引车为零一小满系列新车。
两款速豹新车的电池包都可选宁德时代或者福鼎时代的磷酸铁锂电池包,其中一款电池包采用底置搭配后背布局,电量为621.33kWh,公告续航402公里;另一款则采用的是底置电池包设计,电量为414.22度,公告续航261公里。
电机都来自速豹自产产品,双电机设计,单电机峰值功率为346kW,两款车轴距均为3600+1400mm,其中一款整备质量为9.5吨、10吨、10.455吨,另外一款整备质量可选11.05吨、11.5吨、12.15吨。

在刚刚结束的武汉车展上,海珀特氢燃料电池的亮相可谓是引发热议,和武汉车展展车氢气瓶底置设计不同,此次401批公告中,海珀特新车在驾驶室后方也布置了气瓶。
储能装置采用的是微宏动力的三元复合锂电池,三电机设计,中桥单个电机峰值功率为320kW,后桥双电机,单电机峰值功率为220kW,质子交换膜燃料电池则来自华丰燃料,整车自重可选10.6吨、10.9吨、11.4吨,前后桥均采用的是气囊悬架。
除了独特的楔式子弹头外观,海珀特还配备了隐藏式门把手、电子后视镜,内饰同样大有乾坤,厨房、淋浴间、茶吧台都搬上了驾驶室,关于这款车我们此前也做了详细介绍,感兴趣的话,大家可以点击链接查看。
零一汽车在 2023-2025年间完成了从“创立?融资?技术研发?产品量产?渠道下沉?自动驾驶”的完整闭环。凭借“全栈自研的动力与智能系统、多车型”的产品矩阵、以及“生态联盟”的资源整合,已在新能源重卡细分市场站稳脚跟。
此次零一汽车的这两款纯电动牵引车均采用的是楚能的磷酸铁锂电池,其中一款为底置+后背的布置形式,自重为11.1吨、11.5吨;另外一款为纯底置设计,自重为10吨、10.4吨。均采用双电机设计,电机来自旗下的零动智卡,单电机峰值功率为390kW。
毕竟虽然纯电动重卡的渗透率不断提升,但续航受限、补能慢、价格贵等问题让其在长途干线运输市场销量依然受限,长途干线市场中,哪种新技术更能解决续航等焦虑?不少主机厂押宝在氢燃料车型上。
因此,在最近一年的汽车公告中,虽然燃料电池的占比并不高,但是几乎每批都有新车亮相,此次第401批汽车公告中,有5款燃料电池车型亮相,除了上文中介绍过的福田卡文、海珀特,创维和解放分别带来了2款、1款燃料电池牵引车。
南京金龙带来的两款创维牌氢燃料电池牵引车,其中一款公告型号为NJL4250KELFCEV7,储能装置采用的是宁德时代的磷酸铁锂电池,纯电续航485公里,质子交换膜燃料电池则来自洺源科技,额定功率为180kW,电机采用的是金龙客车的产品,峰值功率为520kW,整备质量为11.65吨、12.2吨、12.8吨。
另外一款公告型号为NJL4250KEMFCEV5,储能装置也采用的是宁德时代的磷酸铁锂电池,纯电续航780公里,质子交换膜燃料电池则来自武汉雄韬氢雄,额定功率为240kW,电机采用的是华永的产品,双电机设计,单电机峰值功率为390kW。
解放氢燃料电池牵引车采用的是重塑能源的质子交换膜燃料电池,储能机构来自宁德时代,公告数据纯电动续航里程为497公里,燃料电池系统额定功率为300kW,驱动电机则采用的是一汽自产产品,峰值功率为420kW,整车自重为11吨或11.9吨。
新能源化已成主流,无论是传统企业还是新势力,都在加速布局,我们也可以看出来,大电量(600?kWh级)电池、轻量化底盘、多电机驱动是本批次的核心技术趋势,再加上换电重卡、氢燃料电池车型等,都在力图满足长途运输的续航与动力需求。
苏州众邦携大客户赴解放总部交流之旅
11 月 17 日,一汽解放苏州众邦携手苏州市现代物流业商会嘉宾团走进一汽解放长春总部,开启一场以 “文化互鉴、合作共融” 为主题的参观交流活动,深... 2025年11月20日